преминете към основния текст

Дискове с възможност за печат

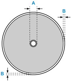
Областта за печат на диска с възможност за печат е от 17 мм (0,67 инча) на вътрешния диаметър до 1 мм (0,04 инча) от външния диаметър на повърхността за печат.

Област за печат

  • A: 17,0 мм (0,67 инча)
  • B: 1,0 мм (0,04 инча)